Configuración de equipos e instalación
Guía de Instalación - Kit M-Nav
Este cable se usa en pantallas Mueller Touch 800 / 1200 con piloto (denominado “bridge”) y que tienen receptor GPS Trimble Nav 900. El mismo permite hacer llegar señal GPS a FieldView.
Compontetes de Kit:

El Actisense es necesario para este kit, pero no viene con el paquete, se comercializa por separado.
- Cortá la corriente de la máquina y esperá 30 segundos.
- Desmontá la pantalla Müller de su soporte.El mismo puede tener diferentes tipos de tornillos. Importante: podes llegar a necesitar llaves Allen y/o destornillador.
- Desconectá el cable del puerto A,ubicado en la parte inferior del monitor. El mismo tiene tornillos que se retiran a mano, o con ayuda de un destornillador.

- Conectá el cable de nuestro kit con denominación “A” en modo de puente. Un extremo debes conectarlo en el puerto A del monitor Müller, y el otro en la ficha que originalmente estaba conectada en dicho puerto A.

- Buscá en el cableado que baja del receptor Nav 900(GPS) la ficha DTM de 6 pines con la denominación “P6 NMEA OUT”. Este cableado suele estar dentro de las paredes del vehículo, o debajo de alguna tapa.
- Quitá la ficha del extremo. La misma posee una trabaja que se debe apretar mientras se tira.

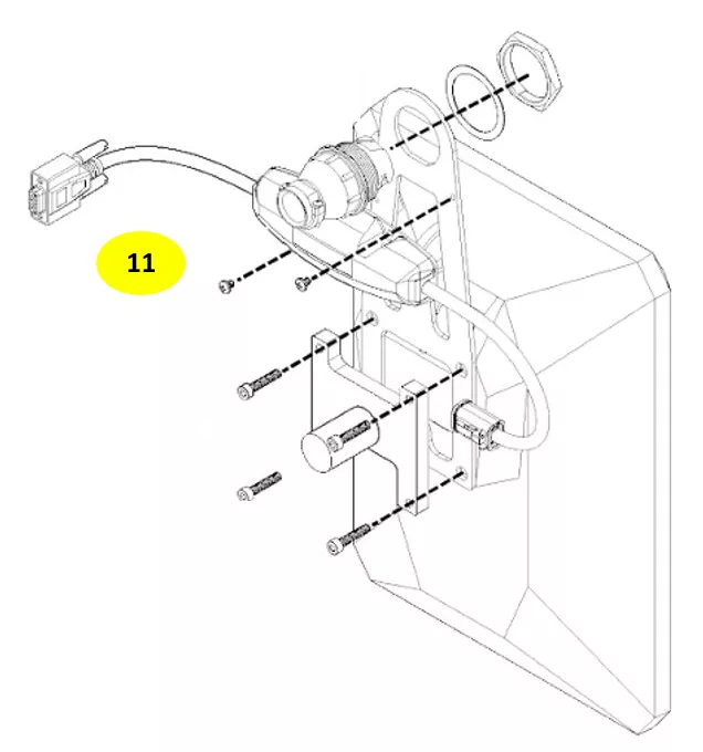
- Conectá el arnés “Nav 900 Serial” a modo de puente. Un extremo conetaclo a la ficha denominada “P6 NMEA OUT” y el otro extremo a la ficha que quitaste previamente.

- Conectá la ficha con denominada“Actisense” al Actisense.
- Conectá el otro extremo del Actisense a la ficha denominada "DT" de 4 pines del arnés CC1088.

- Fijá el Actisense al soporte. El mismo posee dos orificios en diagonal; atornillarlo o ajustarlo con precintos a los mismos.

- Entre la pantalla del monitor Müller y el soporte de la máquina, fijá el soporte del kit con el Actisense hacia atrás. Se recomienda que el puerto CAN del kit, donde se conecta el FieldView™ Drive quede en la parte superior de la pantalla, pero puede ir en cualquier dirección lo importante es que no moleste.

- Fijá con precintos la tecla ON/OFF al orificio central del soporte.

- Fijá con precintos todo el material necesario para que quede ordenado.
- Configurá la salida de mensajes NMEA desde el Mueller Touch, para ello:

Por último ahora solo queda configurar tu pulverizadora en tu FieldView™ Cab app.
Listo! Ya podes empezar a mapear con FieldView™ Drive.